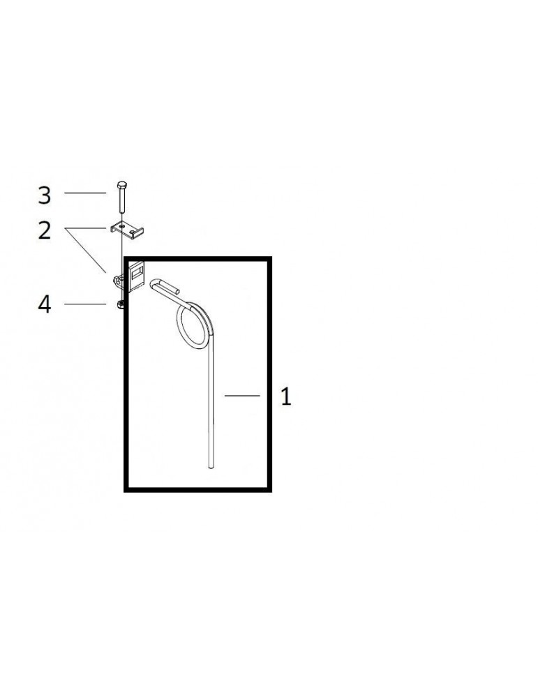
Guttler Grapa Elastica 12mm L90300180

SKU: L90300180
  • Politica de confidentialitate
    Politica de confidentialitate
  • Termeni si conditii
    Termeni si conditii
Descriere

Guttler Grapa Elastica 12mm L90300180

Detalii
Guttler
L90300180

Fisa tehnica

Cod ProdusL90300180
ProducatorGuttler
ProvenientaPiesa de Origine
Cod Piesă de OrigineL90300180
Producator UtilajGuttler

Autentificare

Megamenu

Acest site utilizeaza cookies. Politca de confidentialitate